A new French thriller series has been pulled from Apple TV+ just days before its scheduled debut. The show, titled…
Browsing: intellectual property
The estate of Johnny Cash is suing Coca-Cola. The lawsuit alleges the company illegally used a sound-alike singer to imitate…
Eminem is fighting a legal war with two Real Housewives of Potomac stars. The dispute centers on a podcast trademark.…
A federal court has temporarily blocked OpenAI from using the name “Cameo” for a feature in its new Sora app.…
The most powerful figures in entertainment turn to a select group of attorneys when facing existential threats. These legal fixers…
Samsung Display has ended its lengthy legal battle with Chinese rival BOE. The two display manufacturing giants reached an unexpected…
A federal jury has ordered Apple to pay $634 million. The verdict is for patent infringement related to blood oxygen…
The Information Technology and Innovation Foundation announced applications are now open for the Thomas Edison Innovation Law and Policy Fellowship.…
Heavy metal band Slipknot has launched a legal battle for their own name. The band filed a lawsuit to gain…
OpenAI has launched a new video generator called Sora 2. The tool allows users to create hyperrealistic video clips from…
A new virtual event aims to teach game developers how to protect their creations. The Next Great IP Jam is…
OpenAI’s new Sora video generator creates highly realistic clips from simple text prompts. The artificial intelligence model can mimic styles…
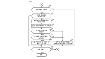
Nintendo has obtained a new US patent for core Pokemon game mechanics. The patent was officially granted last week. This…
Tech titan Apple has launched a high-stakes trademark lawsuit against Massachusetts-based theater chain Apple Cinemas, accusing it of exploiting the…
The glow of Apple’s iconic logo is synonymous with innovation worldwide—but a U.S. movie theater chain now finds itself in…















